Для подъема грузов на различную высоту используется электродвигатель крановый. Его особенность в том, что он рассчитан на работу в режиме частых пусков. Обычный двигатель, даже достаточно мощный, при таких режимах сильно перегревается и выходит из строя.
Электродвигатель подъемного крана работает под напряжением 380 вольт, хотя есть варианты на другие значения по электропитанию. Как правило, это трехфазные асинхронные аппараты с фазным ротором, регулируемые при помощи сопротивлений. В некоторых моделях кранов вместо резисторов устанавливают тиристорные регуляторы с горизонтальным управлением угла открытия. Такие схемы позволяют делать плавный пуск, что исключает рывки, толчки, а также делает работу с краном более комфортной и безопасной. Для этих же целей могут применяться двигатели постоянного тока.
Фазные аппараты


Если общие затраты на работу короткозамкнутых асинхронных машин принять равными единице, то для фазных аппаратов они будут равны пяти, а для двигателей постоянного тока – десяти. Это объясняет, почему подавляющее большинство моторов на кранах именно трехфазные.


Для отечественной промышленности выпускаются электродвигатели различной нагревостойкости изоляции, обозначаемой буквой в модели аппарата: МТФ – 155○С, МТН – 180○С.
Электрические машины для мостовых, а также других кранов, серии МТН и МТКН выпускают с частотой вращения 600, 750 и 1 тыс. об/мин. при 50 Гц, а для частоты сети 60 Гц – 720, 900 и 1200 об/мин. Эта серия характеризуется высокой перегрузочной способностью, повышенным пусковым моментом при небольшом токе и быстрым разгоном.
Двигатели МТН имеют повышенную мощность за счет улучшенных характеристик изоляционных материалов, по сравнению с предыдущими моделями подобных электрических машин.


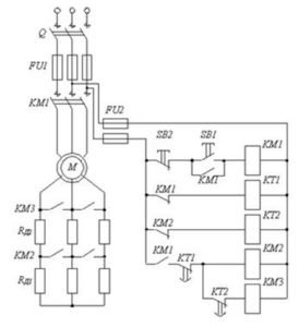
Пусковая аппаратура может представлять из себя мощные резисторы, несколько пускателей, постепенно закорачивающих ротор, и реле времени.


Схема с использованием мощных резисторов, нескольких пускателей, постепенно закорачивающего ротора, и реле времени
Подобные схемы успешно работают на мостовых кранах. После пуска двигатель МТН включается на полном значении сопротивлений в цепи ротора. Через определенное время, выставленное на реле времени, когда пусковой ток падает до номинала, включается первый контактор, который как бы «выбрасывает» часть сопротивлений и двигатель получает дополнительный момент, разгоняясь до следующего значения. В каждом отдельном случае количество резисторов и пускателей «выброса» может быть разное.
Когда включается последний пускатель, МТН выходит на свои полные обороты и работает как асинхронник с короткозамкнутым ротором. Крановые электродвигатели с фазным ротором можно использовать как для кратковременного режима работы, так и для постоянного.
Пониженная скорость
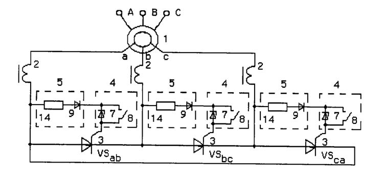
На современных мостовых кранах используется электронная схема, позволяющая получить пониженную, или «ползучую», скорость. Это бывает крайне необходимо в случаях погрузки опасных или негабаритных грузов, а также в случае, когда нужна очень точная погрузка.
Для этой цели используют тиристоры или симисторы. Получая напряжение с фазных колец ротора, схема устанавливает угол открытия тиристора согласно заданного значения. В результате, машинист может регулировать нужную скорость, если такая регулировка выведена в его кабину, либо включать заданное значение.


Торможение
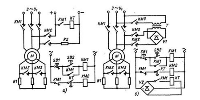
Для торможения двигателя на мостовых, и не только, кранах, успешно применяют динамический режим: в обмотку статора, после отключения питания, кратковременно подают постоянное напряжение, имеющее неподвижное магнитное поле. Такой способ позволяет повысить точность остановки механизма.


Такое напряжение подают либо через гасящий резистор, либо при помощи понижающей схемы. После остановки двигателя его необходимо обесточить.
Другие типы двигателей


Если возбуждение либо смешанное, либо параллельное, тогда эти обмотки можно не обесточивать. Это обусловлено техническими характеристиками данной электрической машины, рассчитанной на длительные режимы работы.
Если возбуждение у аппарата последовательное, то обмотки собираются из двух групп. При 220 в их собирают и подключают друг с другом последовательно, если 110 в – параллельно, а если двигатель питается от 440 в – последовательно-параллельно с добавочным резистором.


Частота вращения регулируется двумя способами: ослаблением напряжения возбуждения или увеличением его на якоре.
Электродвигатели постоянного тока с параллельным возбуждением и стабилизирующей обмоткой, согласно своим характеристикам, допускают ускорение вращения в два раза от номинала при помощи уменьшения напряжения возбуждения. Если же это тихоходный тип двигателя, тогда можно увеличить скорость в 2,5 раза.
Однако стоит помнить о таком ограничении: для аппаратов на 220 в при увеличенной скорости вращающий момент должен быть не выше 0,8 Мн, а для двигателей на 440 в – не выше 0,64 Мн.
Электродвигатели для кранового хозяйства имеют свои характеристики, которые необходимо учитывать при установке их на соответствующие механизмы.