На сегодняшний день многие домашние электрики задумываются о том, как сделать тороидальный трансформатор. Этот спрос на него обеспечен тем, что он имеет сердечник, который значительно лучше по сравнению с другими. Он имеет меньший вес, который может отличаться в полтора раза. Также и КПД этого трансформатора будет значительно выше.


Вот основные причины, которые останавливают многих мастеров при его изготовлении:
- Достаточно сложно найти подходящий сердечник.
- Его изготовление занимает много времени.
Тороидальный трансформатор и его расчет
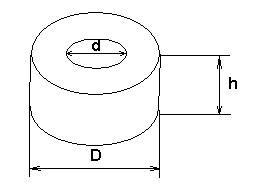
Для того чтобы значительно облегчить расчет тороидального трансформатора вам необходимо знать следующие данные:
- Выходное напряжение, которое будет подаваться на первичную обмотку U.
- Диаметр сердечника внешний D.
- Внутренний диаметр сердечника d.
- Магнитопровод


Sc = H * (D – d)/2.
Наиболее важной характеристикой сердечника считается площадь его окна S. Этот параметр будет определять интенсивность отвода избытков тепла. Оптимальное значение этого параметра может составлять 80-100 см. Вычисляется он по формуле:
S0 = π * d2 / 4.
Благодаря этим значениям вы легко рассчитаете его мощность по формуле:
P = 1,9 * Sc * S0, где Sc и S0 необходимо брать в квадратных сантиметрах, а P получится в ваттах. Затем вам потребуется найти число витков на один вольт:
k = 50 / Sc.
Когда значение k вам станет известным, то можно будет рассчитать количество витков во вторичной обмотке:
w2 = U2 * k.
Производить расчеты лучше, если в качестве исходного значения использовать напряжение на вторичной обмотке:
W1 = (U1 * w2) / U2, где U1 – это напряжение, которое подводят к первичной обмотке, а U2 снимаемое со вторичной.
Сварочный ток проще всего регулировать с помощью изменения числа витков в первичной обмотке, так как здесь существует меньшое напряжение.
Изготовление тороидального сердечника
Тороидальные трансформаторы содержат в своей конструкции сложный сердечник. Лучшим материалом для его изготовления считается трансформаторная сталь. Для того чтобы изготовить сердечник тороидального трансформатора вам необходимо использовать стальную ленту. Ее необходимо свернуть в рулон, который будет иметь форму Тора. Если у вас уже есть такая форма, то никаких проблем возникнуть не должно.


Хороший готовый сердечник вы также можете найти на лабораторном автотрансформаторе. Вам следует перемотать его обмотки. Измерительные трансформаторы имеют более простой сердечник.
Еще к одному способу изготовления тороидального сердечника относят использование пластин от неисправного промышленного трансформатора. Сначала из этих закрепок вам потребуется изготовить обруч. Его диаметр должен составлять 26 см. Внутрь этого обруча необходимо постепенно вставлять пластины. Следите за тем чтобы они не разматывались.


Намотка тороидального трансформатора
Намотка тороидального трансформатора – это достаточно сложный процесс, который занимает много времени. Тороидальный трансформатор имеет одну из наиболее сложных намоток. Наиболее простым способом считается использование специального челнока. На него следует намотать провод нужной длины и затем его через отверстия. Он имеет сложную конструкцию, но это не влияет на принцип работы трансформатора тороидального. После пропуска через челнок у вас начнет формироваться соответствующая обмотка.




Надеемся, что благодаря этой статье вы самостоятельно сможете изготовить тороидальный трансформатор своими руками.