Электроприборы для применения в современных помещениях сегодня представляют собой обширный перечень компонентов, предназначенных для самостоятельного подключения. К ним относятся так называемые реле тока – автоматические электромагнитные средства управления напряжением. Эта статья дает возможность узнать, что представляет собой токовое реле, какие есть разновидности этого вида устройств.
Современные образцы


Размыкание электрической цепи происходит, когда ток срабатывания реле достигает определенного объема. Различают электромагнитные образцы на 24 вольт или 220 В, чувствительные к различным воздействиям. Они даже могут быть настроены на отключение или включение через какое-то время. Приведем для примера несколько отдельных разновидностей:
- Реле контроля тока,
- Прибор для ограничения напряжения,
- Реле переменного тока,
- Реле максимального тока,
- Прибор для дифференциальной защиты,
- Реле постоянного тока для 24 вольт,
- Прибор для контроля температуры.
Первичные и вторичные установки


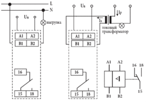
Работа схемы цепи с использованием вторичного реле постоянного тока на 24 вольта подразумевает подключение через трансформатор, монтируемый на питающий провод или шину. Трансформатор способствует преобразованию электричества в меньшую сторону до уровня электричества, подходящего для конкретной схемы работы реле тока на 24 вольт. Поскольку напряжение, протекающее по проводникам, обратно пропорционально объему энергии, поступающей к переключателю, может применяться агрегат с малым диапазоном нагрузки. Агрегат с допустимым объемом максимальной мощности, равным 5 А, может быть использован в схеме для контроля объема энергии до 100 А при помощи трансформатора с кратностью 100/5.
Вторичные образцы разделяются на несколько видов. Это индукционные электромагнитные, дифференциальные и агрегаты на интегральных платах. Такие разновидности изделий на 220 вольт применяются практически повсюду.
Дифференциальный образец
Технология базируется на принципе сравнения объемов электроэнергии до и после взаимодействия с потребляющей техникой. Объем электричества будет одинаковым на всем участке цепи при нормальном режиме работы. При замыкании в трансформаторе уровень мощности будет меняться. Команда на отключение проблемного участка цепи подается методом замыкания контактов.


Схема реле максимального тока
Дифференциальные реле максимального тока или агрегаты на 24 вольта часто используются в быту и на производстве. Они могут быть установлены в качестве средств защитного отключения и упреждать утечки энергии в потребляющей технике и проводниках. Во время прямого контакта человека с корпусом электроприбора удар электричеством может быть предотвращен.
Различные способы коммутации контакта
Слаботочными можно называть поляризованные переключатели по объемам коммутируемой мощности. Через контакты реле переменного тока для 24 вольт проходит энергия меньше нескольких десятков миллиампер. Почти во всех видах устройств такого типа предусмотрен «перекидной» контакт. Для изделий на 24 В мощности характерна пружинная система якоря.
Такие переключатели могут разделяться на два основных вида по методу коммутации:
- После снятия управляющего напряжения обмотки контакты размыкаются. Доступны три основных положения для якоря такого переключателя,
- После снятия мощности обмоток состояние коммутации запоминается.
Для надежной работы источников электроэнергии в авиации используется специально разработанный поляризованный силовой переключатель.
Бесконтактные и поляризованные агрегаты
Также разрабатываются поляризованные бесконтактные переключатели. Они представляют собой электронные устройства, идентичные поляризованным электромагнитным установкам по функциональности, но собранные совсем по другому принципу. Это полупроводниковые электронные образцы, разработанные по технологии магнитных усилителей. Подобные агрегаты великолепно проявляют себя в условиях мощных ударов, вибраций.
Приборы собираются по принципу магнитных усилителей и имеют несколько обмоток. Реактивное сопротивление отрицательным или положительным полуволнам на вторичной обмотке изменяется при подмагничивании сердечников постоянным напряжением определенного направления. Зачастую обыкновенным неполяризованным устройством усиливается изменение вторичного напряжения.
Заключение
Правильный подбор реле тока всегда будет зависеть от технического назначения, регулировочных характеристик, величины измеряемых и питающих мощностей, порога максимально возможной нагрузки, целесообразности наличия системы задержки времени активации, а также от условий, в которых будет проводиться эксплуатация. Выбранное по главным характеристикам устройство достаточно просто настроить своими руками под определенные нужды, изменяя при этом установки в соответствии с необходимостью.
Большей частью реле максимального тока представляют собой довольно компактные приборы, благодаря этим свойствам они довольно просто устанавливаются в защитные отсеки, отличаются своей взаимозаменяемостью, простотой и надежностью конфигурации. Многие модели предусматривают присоединение дополнительных контактов. Это дает возможность сделать схему цепи немного проще и выдавать дополнительные сигналы для управления.
Благодаря современным технологиям дается возможность своими руками осуществлять контроль показателей напряжения на интегрированных светодиодных экранах. Такие приборы имеют достаточно большой диапазон настроек.